论文
专利
专著
期刊
产品
获奖情况
ZL201721498507.X 一种眼科吸血海绵按扣式手柄
ZL201721464789.1 脚踝温敷带
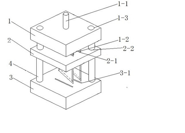
ZL201721713141.3 一种柔性薄板型材的裁切装置
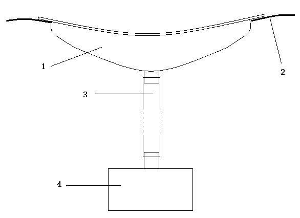
ZL201721455515.6 一种用于热球式风速计测定风速的辅助装置
ZL201721507568.8 一种用于海绵物质洗涤或化学反应的装置
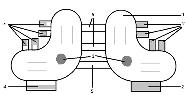
ZL201721463531.X 船型导尿器
实用新型专利:康复站立架 授权公告号:CN211461081U
上一篇: 多功能康复训练盒
下一篇: 一种抗旋前鞋
网站首页 关于我们 网站地图 版权声明 帮助信息
地址:北京市丰台区角门北路10号(东院区)、北京市丰台区角门北路18号(西院区) 电话:87020531 邮编:100068 Email:crrcweb@163.com
备案号:京ICP备2020039803号-1版权所有:中国康复科学所技术支持: